随着5G基站建设的推进,预计在2020年以后智慧路灯初步形成规模。
除了形态优美,这些智慧路灯杆还汇集灯光控制、LED屏幕显示、5G基站、智慧报警等多种功能于一身,并通过“多杆合一”使道路变得更加整洁,成为城市中一道靓丽的风景线。

其实,智慧路灯杆早在2016年就被多地试点,但一直未成气候。
5G近段时间进展神速,目前已经建成8.6万个基站,预计到年底突破13万个。而无论从高度、间距,还是从电源配套、安全和管理等角度考虑,智慧灯杆都是5G微基站的天然载体,5G微站的超密集组网将带动海量智慧灯杆需求释放。
自2018年以来,多个省市都出台了通信基础设施的政策,其中有不少政策提到了一杆多用的实施,以及部署5G网络,并且其政策内容与智慧灯杆产业明确相关。
以深圳市为例,根据《深圳市多功能智能杆三年建设规划(2018-2020年)》,2018-2020年深圳市将建设多功能智能杆超40000根,按照每根智能灯杆平均造价2.5万元测算,2018-2020年深圳市的智慧灯杆市场规模将达到10亿元以上。
从煤油灯到LED灯,路灯经历了漫长的进化史。而随着物联网技术的发展,路灯升级也从“照明”效果的优化转向感知、控制的“智慧化”。
“智慧化”意味着路灯能通过自身感知来“聪明地”完成自动开关、调节亮度、监测环境等任务,从而一改高成本、低灵活度的有线人工控制。与传统的路灯相比,智慧路灯杆不仅能为行人、车辆照亮道路,还能充当基站为市民提供5G网络,能作为智慧安防之“眼”来维护社会环境的安全,能搭载LED屏幕向行人展示天气、路况、广告等信息。

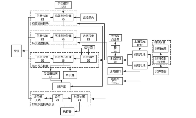
2016年被认为是我国智慧路灯杆落地的元年。年初,中兴通讯在深圳工业园试点了首个Blue Pillar智慧路灯杆;4月,陕西省政府联合铁塔公司、中兴试点智慧灯杆;12月上海三思制造的20座“高大上”的复合型路灯杆在北京左安门西街亮相……一时间,各地智慧路灯杆试点的消息在全国范围内形成不小的共震。国内智慧灯杆与国外的发展几乎同步。2015年开始,美国通信巨头AT&T和通用电气携手为美国加州圣地亚哥市3200个路灯安装摄像头、麦克风和传感器等,具有找停车位和侦测枪声等功能;洛杉矶市为路灯引入声学传感器和环境噪音监测传感器以侦测车辆碰撞事件,并直接通知应急部门;丹麦哥本哈根市政部门在2016年底前将2万盏配备智能芯片的节能路灯安装在哥本哈根街头……智慧灯杆技术已经比较成熟。从功能上来说,智慧灯杆具有智慧照明、通讯基站、微气象监测、视频监控、Wi-Fi覆盖、LED信息显示、公共广播、充电桩等功能模块。目前,智慧路灯杆的这些功能可以根据业主的需求进行定制,而定制的目标也不再是功能的堆砌,而是实现平台的联动。

从整个物联网产业生态圈的角度来看,智慧路灯生态主要包括:传感器、芯片、通信模组、通信网络、物联网平台、操作系统、集成应用。传感器是智慧路灯的“五官”,完成外界信息的采集;芯片是智慧路灯的“大脑”,完成信息处理;通信模组是智慧路灯的“联网器件”,是实现通信的底层硬件,是芯片、存储器、功放器件的集成体;通信网络是智慧路灯接入互联网平台的“通道”;平台层是整个智慧城市的“中枢”,用于整个路灯系统的连接、管理、应用开发。
智慧路灯灯体属于物联网的集成应用层,处于产业链的中下游。根据“全球物联网观察”分析的数据可知,集成应用层占产业链价值的30%-40%,利润空间大。

但是,方兴未艾的智慧路灯杆却在2017-2018年遭遇挫折,相关落地进展一时杳无音讯。智慧灯杆单杆成本高达3-8万/根,而盈利模式却尚不清晰,运营归属权限不明确。比如,对于“由通信运营商还是城市建设方来主导?”等问题都没有可借鉴的项目及模式。除了运营问题,利益协调问题也十分严峻。智慧路灯方案中涉及气象、交通、城市建设、广告管理等不同领域,隶属于不同的国家机构和部门管理,运营商与不同部门的沟通协调面临众多挑战。另外,由于智慧灯杆推广项目“集体卡壳”,可供参考的行业规范和标准也迟迟没有出现。踩着“物联网”概念风口飞驰而来的智慧路灯杆才刚刚落地,就“碰了一鼻子灰”。它亟需要一股新的动力、一个强大的推动者和一套能引领行业的规范标准。
2019年,高歌猛进的5G为智慧路灯杆产业带来了希望。今年4月,国家颁布《关于2019年推进电信基础设施共建共享的实施意见》提出:“鼓励基础电信企业、铁塔公司集约利用现有基站站址和路灯杆、监控杆等公用设施,提前储备5G站址资源。”近日,搭载5G基站的智慧路灯杆在北京各地区试点推行。而早在今年3月份,广州天河南二路一批新式路灯已经落地,集合了视频监控、基站、道路指示牌、手机充电接口等元素。

广东省走在智慧路灯杆推广的排头。3月14日,由广东铁塔牵头发起的广东省智慧杆产业联盟正式成立,为广东省之后的智慧路灯杆项目协调工作提供支持,随后广东省深圳、韶关、惠州等多地纷纷跟进了智慧路灯杆试点。除此之后,其他各个省份试点智慧路灯杆的消息也纷至沓来。今年5月底,福建省厦门同安区中山路建设投放60盏智慧路灯;据浙江省嘉兴市中心城市品质提升工作指挥部透露,今年9月底前,144个“智慧杆塔”将在市区三元路“上岗”……记者进一步探查发现,在刚刚过去的半年多时间里,全国各省市已发布了30多份关于智慧路灯杆、一杆多用、5G智慧杆塔等的相关政策。
值得欣喜的是,近日,全国第一个省级“5G智慧灯杆标准”也诞生了。8月8日,广东省发布了长达79页的《智慧灯杆技术规范》,对智慧灯杆系统设计、施工、检测与验收、运行和维护等作出规定。

目前,政府需求较前两年发生了较大的转变。以前是企业向政府推荐建设智慧路灯杆试点,而现在是政府有比较明确的需求,政府自己来定义标准,企业根据政府出资的体量进行项目配置。自此,智慧路灯杆有了5G这一新鲜动力,有了政府这一有力推动者通过政策协调各方,并出现了全国第一个省级智慧灯杆标准引领方向。这为“谁来用,谁来建,谁来运营”智慧路灯杆等问题的解决准备了条件。一场智慧路灯杆产业的变革在全国范围内铺开,智能路灯杆产业的抢滩大战蓄势待发。

智慧路灯杆相关技术在2016年已经比较成熟,在经历了2017-2018年的低迷之后,2019年,5G的推广、各地政策的强力助推、省级区域内行业规范的形成,有望在未来一到两年里促进智慧路灯杆产业迎来新的落地热潮。华为无线站点产品线总裁郝应涛表示,5G的建设工作才刚刚开始,但是依据2G、3G、4G的发展规律,我们预估,在1-2年内,通信运营商会以宏站的建设工作为主,2020年之后,灯杆基站等微站的建设将会逐步形成规模。虽然在政府的推动下,广东等省市已经建立了联盟及产业规范来促进智慧灯杆的落地,但是“谁来主导”的问题仍在解决中。正如大华智慧路灯杆负责人王继勇所说:“目前企业在业务上已经没有太大问题,主要难点还是‘谁来主导、谁有需求、谁来出钱’的问题。广东的智慧灯杆联盟能很好地协调了项目的推进,这对其他很多省市可能是不错的借鉴。”而深入到真实的落地实践中,智能路灯杆企业也面临着更多实际问题。中智德CEO张桂春表示,玩家大量涌入引发的市场混乱、市场对智慧路灯系统的认知匮乏、智慧路灯杆偏高的成本等,都是当前智慧路灯杆行业面临的重要难点。新技术落地是一个复杂而漫长的过程。即使技术早已成熟,在落地应用中也可能出现动力不足、场景需求判断失误、主体不明确、利益难协调等结构性问题,技术应用涉及的模块越多、领域越广,问题可能越严峻。在未来一到两年的智慧路灯杆的落地推进中,各路玩家会经历怎样的实践探索和重新洗牌,我们拭目以待。
实时采集各系统设备数据,云端快速生成大数据分析模型,中控集中运营真正做到可控化、可视化、可量化、自动化,提升运营效率、客户体验和投资回报率。是中国高端商业写字楼、商场,酒店、园区、医院的智能化首选配置。